解决现有防撞桶问题的新型交通安全警示防撞桶固定装置
解决现有防撞桶问题的新型交通安全警示防撞桶固定装置
[0001]本实用新型涉及一种防撞桶固定装置。背景技术:[0002]现有的道路路口或在护栏缺口处的地面上,一般都设有防撞桶,用于交通安全警示,同时对车辆起到防护作用。

现有的防撞桶在使用过程中问题不断,新型防撞桶的固定装置是否能克服这些问题?让我们一探究竟。
现有防撞桶的位移问题
现有的防撞桶一般填充沙石后放置于地面上。在具体的使用环境中,例如高速公路施工区域,若车辆不慎撞上防撞桶,其很容易发生移动。以某地的一条快速路施工区域为例,一天之内就有多个防撞桶因车辆撞击而发生了位移。这种复位操作在移动后必须依赖人工执行,这既消耗了大量人力,同时也提升了工作人员在道路上的安全风险。
一体化防撞桶的潜在隐患
一些防撞桶与防撞柱合并使用,是因为柱身横向设有两根钢支架来固定桶身。这种看似加强的结构,实际上却隐藏着风险。比如,在某个城市的停车场入口,就有车辆撞击了这样的防撞桶,结果钢支架刮伤了车身,甚至可能对车内乘客造成伤害。这样的隐患必须引起我们的高度关注。
新型底座的设计特点
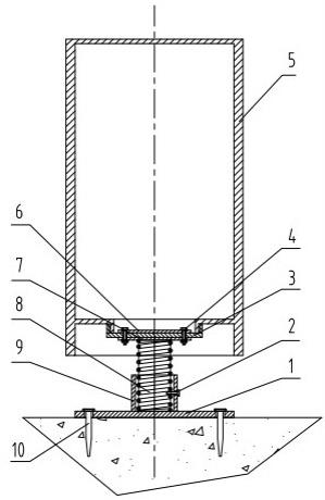
为了应对之前提到的问题,我们研发了一种新型的防撞桶固定设备,该设备配备了一个专用于地面固定的底座。这个底座周围设计了多个销钉安装孔,通常不止三个。例如,在许多大型工厂的物流通道中,安装了这种带有销钉安装孔的底座后,就可以利用销钉将底座稳固地固定在地面上。这样一来,不仅显著提升了防撞桶的安装稳定性,而且从根本降低了因位移而引发的风险。
缓冲复位装置原理
该设计的一大特点在于其缓冲复位装置。装置顶部装有连接盘,该盘用于与防撞桶轴向一端相连接。连接盘中包含设置在底座上的弹簧定位体,定位体上还装有弹簧。以某收费站的车道为例,当车辆撞击防撞桶时,弹簧便开始发挥作用,起到缓冲冲击力的作用。弹簧的下部通过定位螺栓固定在定位体上,从而保证了装置的稳定运行。
防撞桶的连接方式
防撞桶能够通过多种方式与连接盘相连接。若防撞桶配备了桶盖,那么桶盖的内壁上会配备一个与连接盘相匹配的内连接盘;桶盖和内连接盘上都有与连接盘上紧固螺栓安装孔相对应的孔洞。通过这些孔洞,利用紧固螺栓将它们紧密地连接起来。反之,若防撞桶没有桶盖,在其一端壁上也会有相应的内连接盘,连接方法与有桶盖时相同。这种紧密的连接手段,确保了防撞桶与固定装置之间稳固的结合。
材料与警示色彩
防撞桶一般是用塑料或尼龙等材料制作,具备一定的柔韧性和抗撞击能力。它的外表按照规定涂有用于安全警示的颜色。到了夜晚或是光线昏暗的环境中,这些颜色的警示作用更为突出。比如在隧道入口处的防撞桶,其鲜艳的色彩能迅速吸引驾驶员的注意力,从而确保行车安全。
你认为这款新型的防撞桶固定设备能否有效解决目前防撞桶所面临的问题?若觉得它有用,不妨点个赞并分享出去!